SPEC Seal of Reviewal SPECmail2001 Result
Copyright © 1999-2001 Standard Performance Evaluation Corporation
Mirapoint MSR 2.8 SPECmail2001 msgs/min = 2,000
SPEC license # 69 Tested by:
Mirapoint
Test date:
Jan-2001
Hardware Avail:
Mar-2001
Software Avail:
Jan-2001

2,000 SPECmail2001 messages per minute is equivalent to 400,000 SPECmail2001_users.

Detail Summary | General Notes
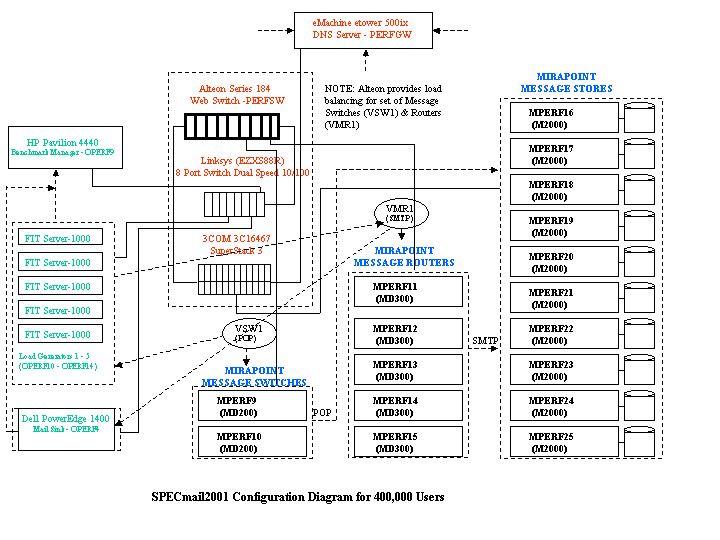
System configurations: Message Switch (POP) | Message Router (SMTP) | Message Store (SMTP/POP) | Benchmark Manager | Mail Sink | Load Generator | Configuration diagram


Summary Results
Function Response
time limit
(seconds)
Required
Percentage
Compliant
Percentage Compliant
80% 100% 120%
SMTP Connect 5 >95% 100.00% 100.00% 98.02%
SMTP Data 5 >95% 100.00% 100.00% 100.00%
POP Connect 5 >95% 100.00% 100.00% 100.00%
POP Status 5 >95% 100.00% 100.00% 100.00%
POP Retrieve 5 >95% 100.00% 100.00% 100.00%
POP Delete 5 >95% 100.00% 100.00% 100.00%
Delivery Time 60 >95% 99.14% 99.01% 95.60%
Error Rate NA <1% 0.15% 0.14% 1.13%

Message Switch (POP) (2 systems)
Software
MPER9,MPERF10: MSR 2.8 Operating System: MOS
Availability: Jan-2001 File System: JFS/MOS
Hardware
Vendor: Mirapoint CPU: Pentium II
Model Name: MD200 CPU MHz: 400
Availability: Nov-2000 CPUs Enabled: 1 core, 1 chip, 1 core/chip
Disk Subsystem: 3 x 18GB SCSI Primary Cache: 16KB(I) + 16KB(D) on chip
Memory (MB): 512 Secondary Cache: 512KB
Network: Intel 10/100 Pro Other Cache: N/A
# of Systems: 2 Other: None
Notes / Tuning Information
- LDAP routing license enabled
- Customer Care option disabled
- LDIF (LDAP Directory Interchange Format) for messaging routing
  NOTE: The system must be idle when updating the LDIF file.
- One RAID I volume with one spare; spindle: 7200 RPM, 18 GB capacity
- TSI Power UPS (internal)
- MSL is 30 seconds (default)
- TIME_WAIT is 60 seconds (default)
- MSS is 1460 bytes (default)

Message Router (SMTP) (5 systems)
Software
MPERF11-MPERF15: MSR 2.8 Operating System: MOS
Availability: Jan-2001 File System: JFS/MOS
Hardware
Vendor: Mirapoint CPU: Pentium III
Model Name: MD300 CPU MHz: 1000
Availability: Mar-2001 CPUs Enabled: 1 core, 1 chip, 1 core/chip
Disk Subsystem: 3 x 36GB SCSI Primary Cache: 16KB(I) + 16KB(D) on chip
Memory (MB): 768 Secondary Cache: 512KB
Network: Intel 10/100 Pro Other Cache: N/A
# of Systems: 5 Other: None
Notes / Tuning Information
- LDAP routing license enabled
- Customer Care option disabled
- LDIF (LDAP Directory Interchange Format) for messaging routing
  NOTE: The system must be idle when updating the LDIF file.
- One RAID I volume with one spare; spindle: 10,000 RPM, 36 GB capacity
- Adaptec(DPT) disk controller with 72 hours battery backup protection
- MSL is 30 seconds (default)
- TIME_WAIT is 60 seconds (default)
- MSS is 1460 bytes (default)

Message Store (SMTP/POP) (10 systems)
Software
MPERF16-MPERF25: MSR 2.8 Operating System: MOS
Availability: Jan-2001 File System: JFS/MOS
Hardware
Vendor: Mirapoint CPU: Pentium III
Model Name: M2000 CPU MHz: 600
Availability: Sep-2000 CPUs Enabled: 1 core, 1 chip, 1 core/chip
Disk Subsystem: 7 x 36GB SCSI Primary Cache: 16KB(I) + 16KB(D) on chip
Memory (MB): 768 Secondary Cache: 512KB
Network: Intel 10/100 Pro Other Cache: N/A
# of Systems: 10 Other: None
Notes / Tuning Information
- Unlimited User and unlimited POP licenses enabled
- Customer Care option disabled
- Three RAID I volumes with one spare; spindle: 10,000 RPM, 36 GB capacity
- APC Smart-UPS 1400 (external)
- MSL is 30 seconds (default)
- TIME_WAIT is 60 seconds (default)
- MSS is 1460 bytes (default)

Benchmark Manager (1 system)
Software
OPERF9: Microsoft Windows Operating System: NT 4.0 (service pack 5)
Availability: Jan-1998 File System: FAT
Hardware
Vendor: Hewlett-Packard CPU: AMD-K6-2
Model Name: Pavilion 4440 CPU MHz: 333
Availability: Jan-2000 CPUs Enabled: 1 core, 1 chip, 1 core/chip
Disk Subsystem: 1 x 4GB SCSI Primary Cache: 32KB(I) + 32KB(D) on chip
Memory (MB): 156 Secondary Cache: 512KB
Network: Intel 10/100 Pro Other Cache: N/A
# of Systems: 1 Other: None
Notes / Tuning Information
- MaxUserPort set to value 65534

Mail Sink (1 system)
Software
OPERF4: Microsoft Windows Operating System: NT 4.0 (service pack 5)
Availability: Jan-1998 File System: NTFS
Hardware
Vendor: Dell CPU: Pentium III
Model Name: Power Edge 1400 CPU MHz: 933
Availability: Jun-2000 CPUs Enabled: 1 core, 1 chip, 1 core/chip
Disk Subsystem: 1 x 4GB SCSI Primary Cache: 16KB(I) + 16KB(D) on chip
Memory (MB): 768 Secondary Cache: 256KB
Network: Intel 10/100 Pro Other Cache: N/A
# of Systems: 1 Other: None
Notes / Tuning Information
- Comment out line for SMTP in /WINNT/system32/drivers/etc/SERVICES file
  NOTE: This is required to allow the Sink to connect to port 25.
- MaxUserPort set to value 65534

Load Generator (5 systems)
Software
OPERF10-OPERF14: Microsoft Windows Operating System: NT 4.0 (service pack 5)
Availability: Jan-1998 File System: NTFS
Hardware
Vendor: FIT CPU: Pentium III
Model Name: Server-1000 CPU MHz: 800
Availability: Jun-2000 CPUs Enabled: 1 core, 1 chip, 1 core/chip
Disk Subsystem: 1 x 30GB IDE Primary Cache: 16KB(I) + 16KB(D) on chip
Memory (MB): 128 Secondary Cache: 256KB
Network: Intel 10/100 Pro Other Cache: N/A
# of Systems: 5 Other: None
Notes / Tuning Information
- MaxUserPort set to value 65534

General Notes / Tuning Information
The following is a list of network hardware used during the test:
 - One Linksys 8 port switch, model EZXS88R
 - One 3COM 24 port switch, model 3C16467
 - One Alteon 9 port web switch, model 184
    NOTE: The Alteon provides load balancing for set of Message Switches and Routers.

The following describes the DNS setup used during the test:
 - Each machine has an A record with its IP address
 - Each machine has a PTR record for reverse mapping its IP address to the actual machine name
 - There are entries for two virtual machines: vsw1 and vmr1
      NOTE: vsw1 and vmr1 are configured in the Alteon for set of Message Switches and Routers, respectively.
      For instance, the Alteon round-robins amongst the set of Message Switches/Routers when a connection is made
      to either virtual machine vsw1 or vmr1.
 - There is an MX record for local.p.net and remote.p.net that points to vmr1.p.net and operf4.p.net, respectively.
      NOTE: The MX records have a preference level of 10.
 - There is a CNAME (alias) record for pop.p.net and smtp.p.net that points to vsw1.p.net and vmr1.p.net, respectively.


For questions about this result, please contact the tester.
For other inquiries, please contact webmaster@spec.org
Copyright © 1999-2001 Standard Performance Evaluation Corporation

First published at SPEC.org on 24-Jan-2001

Benchmark run on Tue Jan 16 18:53:54 PST 2001 by SPECmail2001 v1.00
Report generated on Mon Apr 25 17:24:24 EDT 2005 by SPECmail2001 v1.05 HTML Formatter